为进一步落实国家自由贸易区战略,推动优惠贸易协定关税减让红利精准高效直达各市场主体,即日起,中国贸促会原产地网上签证系统申报端上线“享惠分析”功能,免费向原产地办证企业提供享惠分析资讯。
相关企业登录签证系统、选择相应原产地证书、点击享惠分析按键,签证系统将展示自贸协定列表及对应的原产地标准;待企业选择自贸协定类型并补足商品编码后,系统将自动计算已办证书的享惠金额等信息。该功能将对可享惠的非优惠原产地证书、已填报优惠原产地证书但未充分享惠的两类情况提出享惠方案;其中,对于可享惠的非优惠原产地证书,系统支持一键生成优惠原产地证书。详细操作流程请见附件,如遇相关问题请咨询相关签证机构。
特此通知。
附件:享惠分析功能操作流程
中国贸促会贸推中心原产地处
2026年3月24日
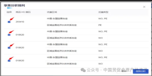
企业登录贸促会原产地网上签证系统(网址:https://declare.ecoccpit.net/),点击“原产地证书管理”,进入非优惠原产地证书/优惠原产地证书列表页面,确定拟开展享惠分析证书。在该证书的操作区,点击“更多”“享惠分析”按键,进入享惠分析功能。 此时系统将进入享惠分析预判页面,签证系统将展示待分析证书中所有商品、每项商品适用的自贸协定和优惠类型代码。企业可根据实际需求,选择一项或多项商品进行享惠分析。 注:由于签证系统将列出原证书的所有商品,因此当证书中含有多个前六位HS编码相同的商品时,当前页面将展现多条商品信息,供企业根据实际情况进行选择。 企业需在补全商品编码页面,点击“选择”按键,补全待分析商品的前十位HS编码。 签证系统将根据企业填报信息计算享惠分析结果。同时,非优惠证书中的待分析商品可以在选择所适用的优惠类型后,通过点击“创建证书”一键生成优惠证书。 (非优惠证书享惠分析结果页面) (优惠证书享惠分析结果页面) 如需了解不同情形下享惠分析的相关结果,企业可点击“享惠分析列表”,查询并导出该证书项下所有享惠分析记录。





- 相关新闻



